- Úvod
- >>
- Člny, motory
- >>
- Lodné motory
- >>
- Príslušenstvo a nd
- >>
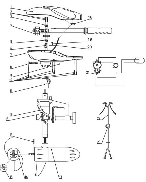
- Náhradná súčiastka k lodnému elektromotoru
| číslo | kód | popis | motor | číslo | kód | popis | motor | |
| 1 | 44 9925601 | horný kryt | 28, 34, 44, 54 | 14 | 44 9925614 | aretačný kolík | 28, 34, 44, 54 | |
| 1 | 44 9925701 | horný kryt | 80 | 14 | 44 9925714 | aretačný kolík | 80 | |
| 2 | 44 9925602 | skrutky 2ks | všetky | 15 | 44 9925615 | matica vrtule | všetky | |
| 3 | 44 9925603 | fixačná svorka | všetky | 16 | 44 9925616 | vrtuľa 2-listá | 28, 34 | |
| 4 | 44 9925604 | rukoväť | 28 | 16 | 44 9925716 | vrtuľa 3-listá | 44, 54 | |
| 4 | 44 9925704 | rukoväť | 34, 44, 54, 80 | 16 | 44 9925816 | vrtuľa 3-listá | 80 | |
| 5 | 44 9925605 | fixačná svorka | všetky | 17 | 44 9925517 | Motor | 28 | |
| 6 | 44 9925606 | prítlačná platnička | všetky | 17 | 44 9925617 | Motor | 34 | |
| 7 | 44 9925607 | spodný kryt | 28, 34, 44, 54 | 17 | 44 9925717 | Motor | 44 | |
| 7 | 44 9925707 | spodný kryt | 80 | 17 | 44 9925817 | Motor | 54 | |
| 8 | 44 9925608 | skrutka | všetky | 17 | 44 9925917 | Motor | 80 | |
| 9 | 44 9925609 | istiaca matrica | všetky | 18 | 44 9925618 | káblová spojka | všetky | |
| 10 | 44 9925610 | skrutky 5ks | všetky | 19 | 44 9925619 | skrutka | všetky | |
| 11 | 44 9925611 | hĺbková objímka | 28, 34, 44, 54 | 20 | 44 9925620 | podložka | všetky | |
| 11 | 44 9925711 | hĺbková objímka | 80 | 21 | 44 9925621 | izolažná krytka | všetky | |
| 12 | 44 9925612 | upevňovacia konzola | 28, 34 | 22 | 44 9925622 | napájací kábel | 28, 34 | |
| 12 | 44 9925712 | upevňovacia konzola | 44, 54 | 22 | 44 9925722 | napájací kábel | 44, 54 | |
| 12 | 44 9925812 | upevňovacia konzola | 80 | 22 | 44 9925822 | napájací kábel | 80 | |
| 13 | 44 9925613 | aretačný blok | 28, 34, 44, 54 | 23 | 44 9925623 | káblový klip | všetky | |
| 13 | 44 9925713 | aretačný blok | 80 | 24 | 44 9925624 | uhlíky 2ks | 28 | |
| 24 | 44 9925724 | uhlíky 2ks | 34 | |||||
| 24 | 44 9925824 | uhlíky 2ks | 44, 54 | |||||
| 24 | 44 9925924 | uhlíky 2ks | 80 |
Príslušenstvo a nd
1,91 € s DPH
AKCIE 1+1 ZDARMA
50,96 € s DPH
Čižmy
35,53 €
32,90 € s DPH
Ponožky
17,10 € s DPH
6,13 € s DPH
11,68 €
8,61 € s DPH
Čelovky
20,79 € s DPH
Osvetlenie
15,34 € s DPH
Krabice
15,38 € s DPH
Kempingové
36,90 € s DPH


























